
摘要:設立廣播電視節目制作經營機構或從事廣播電視節目制作經營活動應當取得《廣播電視節目制作經營許可證》。即指從事微電影、專題、專欄、綜藝、動畫片、廣播劇、電視劇等
設立廣播電視節目制作經營機構或從事廣播電視節目制作經營活動應當取得《廣播電視節目制作經營許可證》。即指從事微電影、專題、專欄、綜藝、動畫片、廣播劇、電視劇等廣播電視節目的制作和節目版權的交易、代理交易等活動的行為。國家對設立廣播電視節目制作經營機構或從事或從事專題、專欄、綜藝、動畫片、廣播劇、電視劇等廣播電視節目的制作和節目版權的交易、代理交易等活動的行為,實行許可制度而辦理的一項許可證。凡設立廣播電視節目制作經營機構或從事廣播電視節目制作經營活動均應當取得《廣播電視節目制作經營許可證》。

1《廣播電視管理條例》(國務院令第228號)第三十一條:廣播電視節目由廣播電臺、電視臺和省級以上人民政府廣播電視行政部門批準設立的廣播電視節目制作經營單位制作。
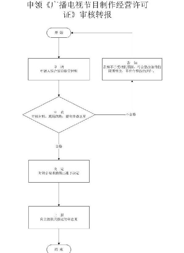
2《廣播電視節目制作經營管理規定》(廣電總局令第34號)第八條:在京的中央單位及其直屬機構申請《廣播電視節目制作經營許可證》,報廣電總局審批;其他機構申請《廣播電視節目制作經營許可證》,向所在地廣播電視行政部門提出申請,經逐級審核后,報省級廣播電視行政部門審批。
1.具有獨立法人資格的境內社會組織、企事業機構(不含在境內設立的外商獨資企業或中外合資、合作企業),有符合國家法律、法規規定的機構名稱、組織機構和章程。
2.有適應業務范圍需要的廣播電視及相關專業人員和工作場所。
3.在申請之日前三年,其法定代表人無違法違規記錄或機構無被吊銷過《廣播電視節目制作經營許可證》的記錄。
4.法律、行政法規規定的其他條件。
1、申請機構向所在地廣電行政部門提出申請,逐級審核后,報省新聞出版廣電局,經省級新聞出版廣電局主管部門及領導審查,由省局行政審批領導小組會議上會通過后,簽發《廣播電視節目制作經營許可證》。
2、已取得《廣播電視節目制作經營許可證》的機構需在國家新聞出版廣電總局廣播電視節目制作經營機構管理平臺上進行網絡注冊。
3、已取得《廣播電視節目制作經營許可證》的機構需在其他省、市設立具有獨立法人資格的廣播電視節目制作經營分支機構,按34號令規定須向分支機構所在地的省級廣電行政部門另行申領《廣播電視節目制作經營許可證》,并向原審批機關備案;設立非獨立法人資格的分支機構的,無須另行申領《廣播電視節目制作經營許可證》。

1、申請報告(后附模版,用紅頭并加蓋公章);
2、廣播電視節目制作經營機構章程:公司章程要有工商登記水印的復印件,或到工商部門調取公司章程檔案。股東中有企業法人機構的,則需提供該企業的營業執照副本復印件、公司章程的股東構成、持股比例情況并蓋原公司公章,逐層上溯,直至最終出資人。股東為自然人的,需注明國籍,并附身份證復印件。
3、《廣播電視節目制作經營許可證》申請表(后附表格可下載);
4、 主要人員材料:
(1)法定代表人身份證(復印件)以及個人簡歷;
(2)主要管理人員(不少于三名):
①身份證復印件;
②從事廣播電視及相關專業個人簡歷、工作經歷、主要業績(廣播電視及相關專業包括編劇、導演、編導、攝像、表演學、電影學、播音主持、新聞學、漢語言文學(中文)、影視制作編輯、影視動畫等)。
③業績證明;(有影視類職稱者,遞交職稱證書復印件。無職稱證書者,遞交影視類相關專業大專畢業畢業證書或培訓證書復印件及證明拍攝業績的材料)
5、辦公場地證明(房產證明或租賃合同復印件);
6、企事業單位營業執照副本(復印件)。
1、提交申請報告(闡述變更事項及理由,加蓋公司印章);
2、提交變更內容有關證明材料:
(1)單位名稱變更:持新營業執照副本復印件;
(2)地址變更:新地址的租賃協議及房產證復印件;
(3)法人代表變更:法人代表簡歷及身份證復印件;
3、營業執照副本復印件或工商行政管理部門同意變更的證明材料;
4、公司章程股東大會決議復印件(從工商部門調取)。
西安行政審批服務局(廣電總局)
